-
-
-
Tổng tiền thanh toán:
-
Bơm hút chân không là gì? Cấu tạo, nguyên lý, ứng dụng, bảng giá
Đăng bởi Nguyễn Thủy vào lúc 28/07/2023
Máy bơm hút chân không được ứng dụng phổ biến trong nhiều lĩnh vực trong đời sống và sản xuất. Vậy máy bơm hút chân không có cấu tạo, nguyên lý và ứng dụng cụ thể là gì? Mời bạn đọc cùng tham khảo các thông tin hữu ích trong bài viết dưới đây của tác giả Ngô Duy Hưng - Giám đốc Vinapump JSC nhé!
| Mục lục bài viết |
|
1. Máy bơm hút chân không là gì? 7. Giá máy bơm |
Máy bơm hút chân không là gì
Máy bơm hút chân không là một thiết bị bỏ khí từ một không gian niêm phong, tạo ra chân không một phần. Bơm hút chân không có ứng dụng vô cùng rộng rãi trong các ngành công nghiệp sản xuất bằng hệ thống chân không. (1)
Bơm hút chân không trong tiếng anh là Vacuum pump được một nhà khoa học, nhà phát minh người Đức tên Otto von Guericke phát minh vào năm 1650.

Máy bơm chân không có nhiều ứng dụng công nghiệp và khoa học. Chúng được sử dụng để đúc composite, dụng cụ bay, sản xuất ống chân không và đèn điện, CRT, xử lý chất bán dẫn, kính hiển vi điện tử, quang khắc, làm giàu Uranium, máy in, nhà máy cắt kính và đá, chế tạo tủ, và các ứng dụng y tế cần hút.
Các ứng dụng y tế bao gồm: xạ trị, xạ trị và xạ trị; khối phổ, dụng cụ phân tích vật liệu rắn, khí, lỏng, bề mặt và sinh học.
Bơm hút chân không cũng được sử dụng cho lớp phủ chân không trang trí trên kim loại, thủy tinh và nhựa, tiết kiệm năng lượng và độ bền của thủy tinh, sơn nhãn khoa, lớp phủ cứng cho các thành phần động cơ Công thức 1, thiết bị sữa như máy vắt sữa, tẩm chân không của cuộn dây động cơ điện hoặc gỗ, máy nén rác, dịch vụ điều hòa không khí, hệ thống nước thải, kỹ thuật chân không, nghiên cứu nhiệt hạch và sấy khô.
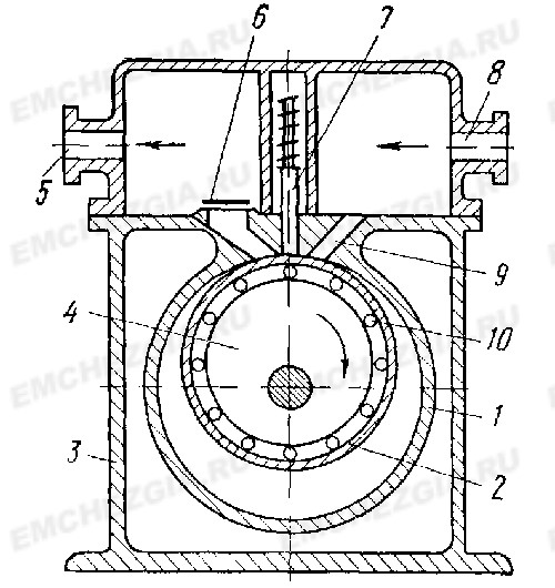
Cấu tạo của máy bơm hút chân không
Cấu tạo đặc trưng của các máy loại bơm chân không bao gồm các bộ phận sau:
Máy bơm chân không rotor – cánh gạt
- Stato
- Thùng chứa dầu
- Cánh gạt
- Khoang công tắc
- Rotor
- Ống hút
- Ống xả
- Van xả

Hình cấu trúc bơm hút chân không rotor
Máy bơm chân không stato – cánh gạt
- Stato
- Rotor
- Vỏ máy
- Bánh lệch tâm
- Ống xả
- Van xả
- Cánh gạt
- Ống hút
- Van vào
- Ổ bi

Hình cấu trúc bơm hút chân không stato
Nguyên lý hoạt động của máy bơm hút chân không
Tạo ra môi trường chân không trong không gian đòi hỏi phải di chuyển tất cả các phân tử khí ra khỏi đó. Các phân tử sẽ chỉ di chuyển nếu có sự khác biệt về áp suất giữa hai vùng. Vùng có số lượng phân tử nhỏ hơn sẽ là vùng áp suất thấp và vùng có nhiều phân tử hơn sẽ được coi là áp suất cao.

Một thiết bị có thể gây ra chênh lệch áp suất giữa hai vùng không gian được coi là một máy bơm. Trong một hệ thống nhất định, bơm tạo chân không được coi là bơm chân không. Một máy bơm chân không có đầu vào được nối với một hoặc cả hai nắp van, đôi khi là chảo thung lũng.
Nó hút không khí từ động cơ, do đó làm giảm áp suất không khí tích tụ được tạo ra do thổi do khí đốt đi qua các vòng piston vào chảo. Bơm chân không khác nhau về lượng không khí (CFM) mà chúng có thể hút, do đó môi trường chân không tiềm năng mà máy bơm có thể tạo ra là giới hạn theo lượng không khí mà nó có thể chảy (CFM).
Khí thải từ bơm chân không được gửi đến bể chứa với bộ lọc trên đỉnh, nhằm giữ lại bất kỳ chất lỏng nào (độ ẩm, nhiên liệu không sử dụng, dầu sinh ra từ không khí) được hút từ động cơ. Khí thải đi vào bầu khí quyển thông qua bộ lọc không khí.
Phân loại các máy bơm hút chân không công nghiệp
Có rất nhiều cách phân loại máy bơm chân không. Quý khách hàng có thể tham khảo cách phân loại như sau:
Phân loại theo áp suất chân không
- Máy bơm nước hút chân không áp suất thấp có p > 100Pa
- Máy bơm chân không áp suất trung bình nằm trong khoảng 100Pa > p > 0.1Pa
- Máy bơm nước chân không có áp suất cao p < 10 – 5Pa
Phân loại theo chất lỏng công tác
- Máy bơm hút chân không vòng nước
- Máy bơm hút chân không vòng dầu
- Máy bơm nước hút chân không khô.
Phân loại theo cấu trúc thiết kế của máy bơm
- Máy bơm hút chân không kiểu cánh quạt
- Máy bơm hút chân không kiểu piston
- Máy bơm hút chân không kiểu roto kép
Đọc thêm: So sánh bơm hút chân không vòng nước 1 cấp và 2 cấp
Ứng dụng của máy bơm hút chân không

Máy bơm nước chân không có thể được ứng dụng cụ thể như sau:
– Ứng dụng bơm hút chân không trong ngành Y tế: Giúp quá trình chuẩn đoán và điều trị bệnh an toàn và chính xác hơn, hiệu suất cao hơn. Đã có hơn 3000 bệnh viện và trung tâm y tế trên toàn thế giới tin tưởng và sử dụng hệ thống máy bơm hút chân không vào quy trình làm việc của họ.
– Ứng dụng bơm hút chân không trong nghành in: Bơm hút chân không đóng vai trò đặc biệt quan trọng trong quá trình tạo ra những sản phẩm in hoàn hảo. Máy bơm hút chân không được sử dụng vào quá trình chuẩn bị trước khi in nhằm giúp giấy được ép chặt vào lô in, đồng thời loại bỏ bụi giấy trên bề mặt lô giấy trước khi được phun mực in.
– Ứng dụng bơm hút chân không trong công nghệ chế biến gỗ: Giúp quá trình phủ sơn lêm bề mặt gỗ được thực hiện một cách nhanh chóng, tránh các tạp khí lẫn vào giúp bề mặt lớp sơn trở nên nhẵn mịn hơn.
– Ứng dụng bơm hút chân không trong quá trình sản xuất ống nhựa: Đóng vai trò quyết định trong việc định hình kích thước và hình dạng sản phẩm.
– Ứng dụng bơm hút chân không trong bảo quản thực phẩm: Giúp quá trình bảo quản thực phẩm được lâu hơn, tránh xảy ra quá trình oxy hóa, đồng thời giúp thực phẩm giữ được vị tươi ngon.
– Ứng dụng bơm hút chân không trong công nghệ sản xuất giấy: Giúp hạn chế quá trình tạo bọt của dòng bột, từ đó giúp cản trở quá trình kết tủa, tạo ra sản phẩm giấy trơn mịn, chất lượng.
Hướng dẫn lắp đặt máy bơm hút chân không

Để vận hành máy một cách tốt nhất, quý khách hàng cần thực hiện lắp đặt theo đúng hướng dẫn như sau:
Bước 1: Kiểm tra vị trí lắp máy bơm
Ở bước này, bạn cần kiểm tra kỹ càng vị trí lắp đặt máy bơm. Cần phải đảm bảo một không gian khô ráo, không gần các thiết bị gây cháy nổ, dễ quan sát và có độ nghiêng không vượt quá 10.
Bước 2: Tiến hành kết nối đường ống
Bạn tháo tất cả các nắp bảo vệ trước khi cài đặt. Lưu ý cần đảm bảo kích thước đường ống phù hợp kích thước cổng hút và cổng xả cũng như phần kết cấu của đường ống không có mắc dị vật tại cổng hút, ống xả.
Bước 3: Thực hiện đổ dầu
Bạn có thể sử dụng dầu chân không Woosung (hoặc loại dầu theo hướng dẫn của nhà sản xuất). Lưu ý để mức dầu luôn ở vạch giữa min và max của mắt kính thăm dầu.
Bước 4: Kết nối điện
- Người dùng cần đảm bảo nguồn điện cho động cơ tương thích với thông số trên bảng tên của động cơ. (Điện 1 pha 220V hoặc điện 3 pha 380V)
- Cung cấp một công tắc ngắt kết nối có thể khóa trên đường dây điện để máy được an toàn khi bảo trì.
- Cung cấp bảo vệ quá tải theo EN 60204-1 cho động cơ.
- Kết nối dây dẫn đất bảo vệ. (Dây tiếp địa)
- Kết nối điện động cơ
Trong quá trình lắp đặt, nếu thấy máy bơm hút chân không phát ra những tiếng kêu lại, hoạt động bất thường (xì khói, ra dầu…) thì cần dừng để kiểm tra và sửa chữa.
Giá máy bơm hút chân không
Bảng giá máy bơm hút chân không Travani vòng nước
|
Models |
Dòng điện |
Điện áp(V) |
Công suất(kW) |
Lưu lượng | Cột áp |
Giá bán (đồng) |
| (m3/h) | (mbar) | |||||
| Bơm chân không vòng nước 2 cấp | ||||||
| TRHE 40-190/C/A3 | 3 pha | 380V | 5,5 Kw | 190 | 33 | Liên hệ |
| TRHE 100-1600/XC/F | 3 pha | 380V | 45Kw | 1600 | 33 | Liên hệ |
| TRHC 100-1260/C/F | 3 pha | 380V | 37Kw | 1260 | 33 | Liên hệ |
| TRHE 100-870/XC/F | 3 pha | 380V | 30Kw | 870 | 33 | Liên hệ |
| TRHC 80-750/C/F | 3 pha | 380V | 30Kw | 750 | 33 | Liên hệ |
| TRHC 80-600/C/F | 3 pha | 380V | 22Kw | 600 | 33 | Liên hệ |
| TRHB 50-420/C/F | 3 pha | 380V | 15Kw | 420 | 33 | Liên hệ |
| TRHB 50-340/C/F | 3 pha | 380V | 11Kw | 340 | 33 | Liên hệ |
| TRHB 50-280/C/F | 3 pha | 380V | 7,5Kw | 280 | 33 | Liên hệ |
| TRHE 40-190/C/F | 3 pha | 380V | 5,5Kw | 190 | 33 | Liên hệ |
| TRHE 40-140/C/F | 3 pha | 380V | 4Kw | 140 | 33 | Liên hệ |
| Bơm chân không vòng nước 1 cấp | ||||||
| TRSK 2004/B/F | 3 pha | 380V | 110Kw | 4530 | 200 | Liên hệ |
| TRSK 2002/B/F | 3 pha | 380V | 90Kw | 3550 | 200 | Liên hệ |
| TRSA 200-1950/C/F | 3 pha | 380V | 75Kw | 1950 | 200 | Liên hệ |
| TRSE 125-1550/XC/F | 3 pha | 380V | 45Kw | 1550 | 200 | Liên hệ |
| TRVX 1007/1-C/F | 3 pha | 380V | 22 Kw | 820 | 33 | Liên hệ |
| TRVX 1005/1-C/F | 3 pha | 380V | 18,5Kw | 700 | 33 | Liên hệ |
| TRVX 1003/1-C/F | 3 pha | 380V | 15Kw | 550 | 33 | Liên hệ |
| TRVA 65-450/C/F | 3 pha | 380V | 11Kw | 450 | 33 | Liên hệ |
| TRVA 65-300/C/F | 3 pha | 380V | 7,5Kw | 300 | 33 | Liên hệ |
| TRMB 32-50/C/RZ-M | 3 pha | 380V | 1,5Kw | 50 | 33 | Liên hệ |
| TRMB 40-200/RX/IE2 | 3 pha | 380V | 5,5Kw | 200 | 33 | Liên hệ |
| TRMX 257/1-C/RX | 3 pha | 380V | 2,2Kw | 55 | 33 | Liên hệ |
| TRMB 40-110/F/IE2 | 3 pha | 380V | 3Kw | 110 | 33 | Liên hệ |
| TRMB 40-150/F/IE2 | 3 pha | 380V | 4Kw | 150 | 33 | Liên hệ |
GHI CHÚ:
- Giá trên chưa bao gồm 10% thuế VAT
- Giá trên chưa bao gồm phí vận chuyển ngoại thành TP Hồ Chí Minh
Liên hệ: Phòng kinh doanh - 0936250333, email: sale@vinapumpjsc.com để có thông tin chi tiết.

Địa chỉ bán máy bơm hút chân không
Trên thị trường có nhiều đơn vị cung cấp các sản phẩm máy bơm hút chân không với đa dạng mẫu mã và thương hiệu. Tuy nhiên, không phải đơn vị nào cũng đảm bảo cung cấp hàng chính hãng và chất lượng.
Nếu quý khách đang có nhu cầu tìm hiểu và mua máy bơm hút chân không công nghiệp hãy lựa chọn Vinapump JSC. Là đơn vị cung các các sản phẩm bơm cũng như phụ kiện bơm lý tưởng, Vinapumps đem đến đa dạng sự lựa chọn về mẫu mã cũng như có nhiều ưu đãi về giá.
------
CÔNG TY CỔ PHẦN MÁY BƠM VIỆT NAM-VINAPUMPJSC
Trụ sở: A1- Tầng 5M - tòa nhà Bình Vượng - 200 Quang Trung - Hà Đông - Hà Nội
☎️ Hotline: 0936 250 333
📧 Email: sale@vinapumpjsc.com
🌐 Website: https://www.cungcapmaybom.vn/
Bài viết cùng chủ đề:
- Nên dùng bơm chân không thương hiệu nào?
- Nguyên nhân và xử lý sự cố bơm hút chân không
- Tại sao cần sử dụng bơm hút chân không trong thực phẩm
Nguồn trích dẫn
(1) Theo Wikipedia Vacuum pump
Để tư vấn, hỗ trợ thi công, thiết kế, lắp đặt và sử dụng bơm hiệu quả, quý khách hàng có thể liên hệ theo hotline 0936 250 333 - 0934 680 111 hoặc email: Sale@vinapumpjsc.com
CÔNG TY CỔ PHẦN MÁY BƠM VIỆT NAM VINAPUMPJSC
Trụ sở: CL26 Tiểu khu đô thị Nam La Khê - La Khê – 200 Quang Trung – Hà Đông – Hà Nội
Chi nhánh HCM: Số 9/2 Đường 22, Hiệp Bình Chánh,Thủ Đức, Hồ Chí Minh
☎️ Hotline: 0936 250 333
☎️ Hotline: 0934 680 111
📧 Email: sale@vinapumpjsc.com
🌐 Website: https://www.hangcongnghiep.vn
🌐 Website: https://www.cungcapmaybom.vn