Bơm Trục Vít Đơn: "Bậc Thầy" Vận Chuyển Chất Lỏng Khó
Bơm Trục Vít Đơn là loại bơm dịch chuyển tích cực (Positive Displacement), hoạt động dựa trên nguyên tắc ăn khớp giữa một Rotor (trục vít đơn) quay và một Stator (khoang hình trụ có lưới bên trong). Sự quay của Rotor tạo ra các khoang kín di chuyển liên tục, đẩy môi chất dọc theo trục vít từ cổng hút sang cổng xả.
I. Ưu Điểm Công Nghệ Cốt Lõi
| Đặc điểm | Mô tả Kỹ thuật | Lợi ích Thực tế |
| Dịch chuyển Tích cực | Lưu lượng bơm tỷ lệ trực tiếp với tốc độ quay, ít bị ảnh hưởng bởi áp suất xả. | Độ chính xác cao, lý tưởng cho các ứng dụng định lượng hoặc chuyển tải cần lưu lượng ổn định. |
| Khả năng Tự mồi | Tạo ra áp suất chân không hiệu quả ở cổng hút. | Có thể hút sâu, không cần mồi thủ công, giúp lắp đặt và khởi động dễ dàng hơn. |
| Xử lý Chất lỏng Khó | Thiết kế khoang bơm kín và lực cắt thấp. | Vận chuyển chất lỏng có độ nhớt cực cao (bùn đặc, polymer, mật mía) và môi chất có chứa hạt rắn, sợi, hoặc hạt lơ lửng cứng mà không bị tắc nghẽn hay phá vỡ cấu trúc. |
| Lưu lượng Ổn định | Bơm tạo ra dòng chảy liên tục, hầu như không bị xung động. | Giảm rung động trong đường ống, bảo vệ các thiết bị nhạy cảm phía sau bơm và giữ nguyên cấu trúc của môi chất (quan trọng trong ngành thực phẩm, mỹ phẩm). |
|
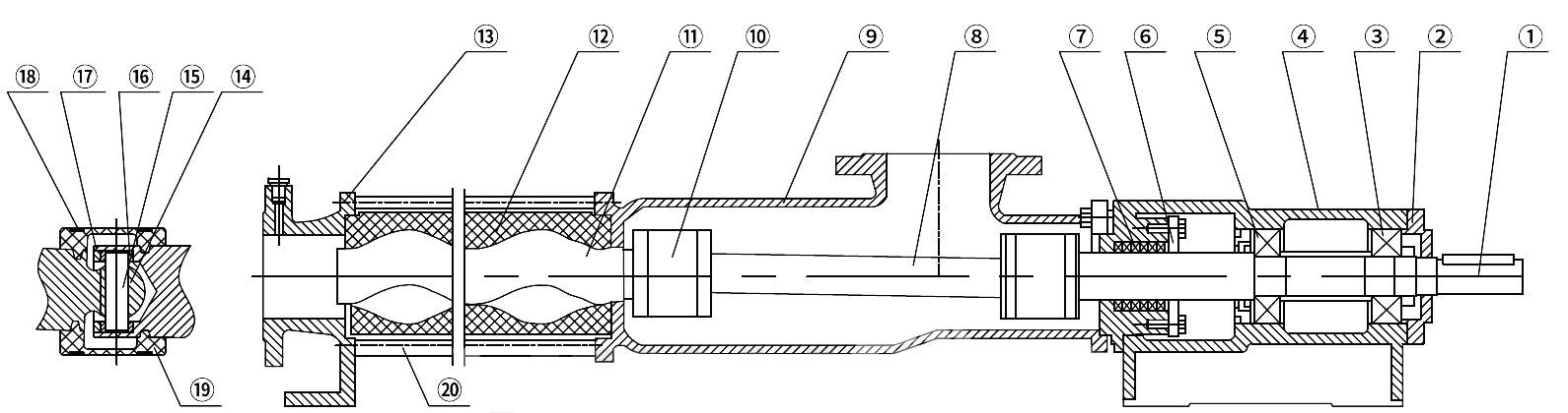
1 |
Pump Shaft |
8 |
Driving Shaft |
15 |
Pin |
|
2 |
Bearing Cover |
9 |
Suction Casing |
16 |
End Sleeve |
|
3 |
Bearing |
10 |
UniversalJoint |
17 |
Retainer |
|
4 |
Bearing Housing |
11 |
Screw |
18 |
Clamp |
|
5 |
Bearing |
12 |
Stator |
19 |
Rubber Sleeve |
|
6 |
Seal Gland |
13 |
Discharge Casing |
20 |
Tie Rod |
|
7 |
Shaft Seal |
14 |
Driving Shaft |
|
Lợi thế
So sánh máy bơm trục vít và các loại máy bơm khác:
1. Bơm trục vít không cần lắp van, lưu lượng và áp suất ổn định khi so sánh với bơm ly tâm,
2. Bơm trục vít có khả năng tự mồi mạnh và chiều cao hút mạnh: 5m khi so sánh với bơm thông thường
3. Bơm trục vít có thể vận chuyển nhiều loại tạp chất hỗn hợp có chứa khí, hạt rắn (tối đa 50mm) hoặc sợi mà không phá hủy chúng và cũng có thể vận chuyển nhiều chất ăn mòn khác nhau khi so sánh với bơm màng
4. Bơm trục vít có thể vận chuyển các chất có độ nhớt cao, độ nhớt tối đa là 200.000cps và tỷ lệ chứa nước là 50% tùy thuộc vào vật liệu khi so sánh với bơm dầu bánh răng
5. Bơm trục vít có thể được sử dụng để chiết rót và định lượng dược phẩm khi so sánh với bơm pít tông, bơm màng và bơm bánh răng
6. Các loại khác, ổ trục được đặt bên ngoài, chất lỏng không bị nhiễm bẩn. Hướng dòng chảy có thể thay đổi và đảo ngược. Bộ phận làm kín được đặt ở phía hút, bảo trì dễ dàng.
|
Nguyên lý hoạt động: |
Bơm trục vít đơn |
|
Dẫn động |
Động cơ điện hoặc động cơ diesel |
|
Phạm vi lưu lượng: |
0,8-150m3/giờ |
|
Cột áp tối đa: |
120m(0,6~1,2Mpa) |
|
Vật liệu bộ phận vỏ: |
Gang / Thép không gỉ |
|
Vật liệu Roto (vít): |
SS201 / SS304 / SS316 |
|
Vật liệu stato: |
NBR / Silicon Gel. /EPDM |
|
Phớt : |
Phớt sợi túp /Phớt cơ khí |
|
Loại động cơ: |
Động cơ dòng YX3 / Hộp số và động cơ dòng YX3 / Động cơ chống cháy nổ |
|
Nhiệt độ chất lỏng tối đa cho phép: |
150°C (302°F) |
|
Loại kết nối: |
Mặt bích / Kẹp |
|
Loại khác: |
Loại vệ sinh an toàn thực phẩm |
Ứng dụng
|
1. Bảo vệ môi trường: |
nước thải công nghiệp, nước thải sinh hoạt, bùn và nước bẩn chứa các hạt rắn và sợi ngắn, đặc biệt thích hợp cho máy tách dầu-nước, máy ép lọc khung và tấm và các thiết bị khác |
|
2. Ngành đóng tàu: |
làm sạch đáy bánh răng, nước có dầu, cặn dầu, nước thải có dầu và các phương tiện khác |
|
3. Ngành dầu khí: |
dầu thô, hỗn hợp dầu thô và nước, hỗn hợp khí mỏ than và nước, bơm polyme vào các thành tạo, v.v., giúp giảm đáng kể chi phí |
|
4. Thuốc và hóa chất hàng ngày: |
bột nhão nhớt, nhũ tương và các loại thuốc mỡ và mỹ phẩm khác nhau |
|
5. Ngành công nghiệp đóng hộp thực phẩm: |
tinh bột nhớt, dầu ăn, mật ong, xi-rô, thịt quả, bơ, cá băm nhỏ và thịt băm nhỏ cùng các thức ăn thừa |
|
6. Ngành sản xuất bia: |
bùn nhớt có cồn, bể chứa rượu đặc, cặn bã sản phẩm ngũ cốc, nhiều loại nước sốt, bùn và chất nhầy chứa chất rắn lớn, v.v.; |
|
7. Ngành xây dựng: |
phun và vận chuyển vữa xi măng, vữa vôi, sơn và các loại hồ khác; |
|
8. Ngành khai khoáng: |
nước ngầm và nước bùn chứa các hạt rắn trong mỏ được thải xuống đất; |
|
9. Công nghiệp hóa chất: |
nhiều loại hỗn dịch, dầu, keo, chất kết dính khác nhau: |
|
10. Ngành in ấn và giấy: |
vận chuyển mực có độ nhớt cao, bột nhựa polyme PVC dùng cho giấy dán tường và bột giấy và bột giấy sợi ngắn có nồng độ khác nhau. |
|
11. Lò hơi công nghiệp, nhà máy điện: |
bùn than-nước. |
Dữ liệu thông số kỹ thuật


Để tư vấn, hỗ trợ thi công, thiết kế, lắp đặt và sử dụng bơm hiệu quả, quý khách hàng có thể liên hệ theo hotline 0936 250 333 - 0934 680 111 hoặc email: Sale@vinapumpjsc.com
CÔNG TY CỔ PHẦN MÁY BƠM VIỆT NAM VINAPUMPJSC
Trụ sở: CL26 Tiểu khu đô thị Nam La Khê - La Khê – 200 Quang Trung – Hà Đông – Hà Nội
Chi nhánh HCM: Số 9/2 Đường 22, Hiệp Bình Chánh,Thủ Đức, Hồ Chí Minh
☎️ Hotline: 0936 250 333
☎️ Hotline: 0934 680 111
📧 Email: sale@vinapumpjsc.com
🌐 Website: https://www.hangcongnghiep.vn
🌐 Website: https://www.cungcapmaybom.vn
